理塘文旅提交了“丁真珍珠”商标注册申请

时间 2024-08-19 10:44:44
浏览 1274
来源 商标局
商标查询 商标注册 商标变更 商标转让 商标续费

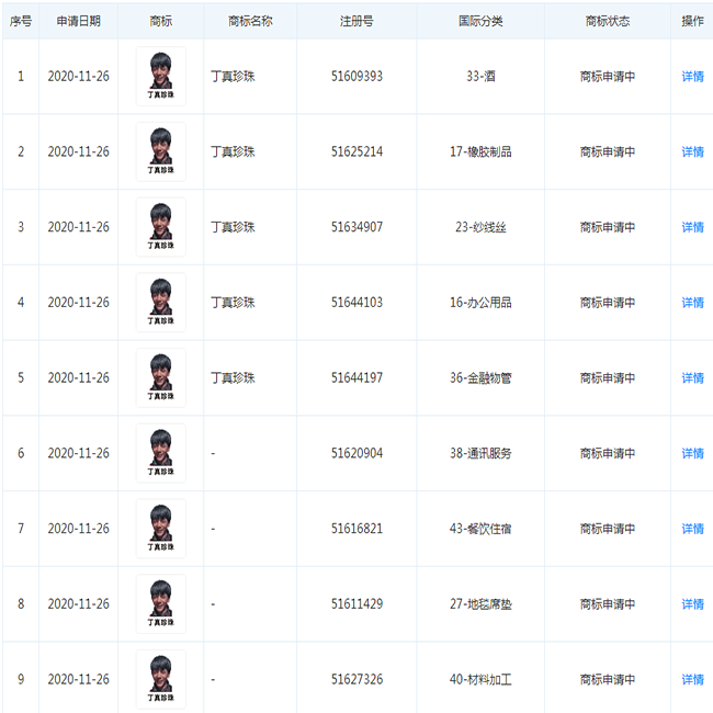
近日,甘孜小伙丁真的“东家”理塘县文旅体投资发展有限公司一口气注册了26类“丁真珍珠”商标,涉及酒、橡胶制品、日化用品、办公用品、餐饮住宿、布料床单、地毯席垫、科学仪器、通讯服务、社会服务、教育娱乐、广告销售,甚至包括健身器材、手工器械、金属材料等国际分类,目前商标状态均为“商标申请中”。并且都有丁真的头像图像。

理塘文旅提交了丁真珍珠商标注册

本文标题和链接 理塘文旅提交了“丁真珍珠”商标注册申请: https://www.rbiao.net/article/id/1348.html 转载时请注明出处为诗宸商标查询及本链接!

如有内容侵犯您的合法权益,请及时与我们联系Email:75696531@qq.com,我们将第一时间安排删除。

发布于2024-08-13 10:41:36
50
中国互联网诚信示范企业 违法和不良信息举报中心 网络110报警服务 中国互联网协会 中国互联网协会信用评价中心 诚信网站
不再弹出

您好,需要 国际商标 服务吗?

搜索十次不如一对一直接咨询

三文logo设计

微信咨询

请添加微信

为您提供1对1咨询解答服务

微信二维码

微信13501502207

三文logo设计

手机咨询

13501502207
不再弹出
~已经到底啦~
还有疑问欢迎直接咨询三文
立即咨询